一、概 述
ZKHH-LDE-CRS型插入式电磁流量计它是基于法拉第电磁感应定律工作的,用来测量电导率大于5μS/cm导电液体的体积流量,是一种测量导电介质体积流量的感应式仪表。除可测量一般导电液体的体积流量外,还可用于测量强酸强碱等强腐蚀液体和泥浆、矿浆、纸浆等均匀的液固两相悬浮液体的体积流量。广泛应用于石油、化工、冶金、轻纺、造纸、环保、食品等工业部门及市政管理,水利建设、河流疏浚等领域的流量计量。
二、工作原理
根据法拉第电磁感应原理,在与测量管轴线和磁力线相垂直的管壁上安装了一对检测电极,当导电液体沿测量管轴线运动时,导电液体切割磁力线产生感应电势,此感应电势由两个检测电极检出,数值大小与流量成正比例,其值为:
E=KBVD
式中:
E-感应电势;
K-与磁场分布及轴向长度有关的系数;
B-磁感应强度;
V-导电液体平均流速;
D-电极间距;(测量管内直径)
传感器将感应电势E作为流量信号,传送到转换器,经放大,变换滤波用一系列的数字处理后,用带背光的点阵式液晶显示瞬时流量和累积流量。转换器有4~20mA输出,报警输出及频率输出,并设有RS-485等通讯接口,并支持HART和MODBUS协议。
三、仪表特点
■全数字量处理,抗干扰能力强,测量可靠,精度高、流量测量范围可达150:1;
■超低EMI开关电源,适用电源电压变化范围大,抗EMI性能好;
■采用16位嵌入式微处理器,运算速度快,精度高,可编程频率低频矩形波励磁,提高了流量测量的
稳定性,功耗低;
■采用SMD器件和表面贴装(SMT)技术,电路可靠性高;
■管道内无可动部件,无阻流部件,测量中几乎没有附加压力损失;
■在现场可根据用户实际需要在线修改量程;
■测量结果与流速分布,流体压力,温度、密度、粘度等物理参数无关;
■高清晰度背光LCD显示,全中文菜单操作,使用方便,操作简单,易学易懂;
■具有RS485、RS232、Hart和Modbus等数字通讯信号输出;(选配)
■具有自检与自诊断功能;
■小时总量计录功能,以小时为单位记录流量总量,适用于分时计量制(选配);
■内部具有三个积算器可分别显示正向累积量反向累积量及差值积算量,内部设有不掉电时钟,可记
录16次掉电时间。(选配);
■红外手持操作器,115KHZ通讯速率,远距离非接触操作转换器所有功能(选配)。
|
表1
|
|
公称通径(mm)
(特殊规格可定制)
|
管道式四氟衬里:DN10~DN600
|
|
管道式橡胶衬里:DN40~DN2200
|
|
流动方向
|
正,反,净流量
|
|
量程比
|
150:1
|
|
重复性误差
|
测量值的±0.1%
|
|
精度等级
|
管道式:0.5级,1.0级
|
|
被测介质温度
|
普通橡胶衬里:-20~+60℃
|
|
高温橡胶衬里:-20~+90℃
|
|
聚四氟乙稀衬里:-30~+100℃
|
|
高温型四氟衬里:-20~+180℃
|
|
额定工作压力
(高压可定制)
|
DN10-DN150:≤1.6MPa
|
|
DN200-DN350:≤1.0MPa
|
|
DN400-DN1000:≤0.6MPa
|
|
DN450-DN2200:≤0.25MPa
|
|
流速范围
|
0.1-15m/s
|
|
电导率范围
|
被测流体电导率≥5μs/cm
|
|
信号输出
|
4~20mA(负载电阻0~750Ω),脉冲/频率,控制电平
|
|
通讯输出
|
RS485,MODBUS协议,HART协议
|
|
供电电源
|
AC220V或DC24V
|
|
要求直管段长度
|
上游≥5DN,下游≥2DN
|
|
连接方式
|
流量计与配管之间均采用法兰连接,法兰符合国标:GB/T9115.1-2000
|
|
防爆等级
|
ExdeiallBT4-T6
|
|
防护等级
|
IP65,特殊订制高可达IP68
|
|
环境温度
|
-25~+60℃
|
|
相对温度
|
5%~95%
|
|
消耗总功率
|
小于20W
|
|
|
四.产品选型
|
|
表2
|
|
型号
|
说明
|
|
ZKHH-LDE-CRS
|
□
|
□
|
-□
|
□
|
□
|
□
|
□
|
□
|
-□
|
|
通径
|
|
|
|
|
|
|
|
|
|
10-2200mm
|
|
组合
|
S
|
一体型
|
|
C
|
插入型
|
|
电极材料
|
M
|
不锈钢
|
|
T
|
Ti(钛)
|
|
D
|
Ta(钽)
|
|
H
|
哈氏合金
|
|
P
|
Pt铂
|
|
N
|
Ni镍
|
|
输出方式
|
0
|
无输出
|
|
1
|
4-20mA/1-5KHz
|
|
2
|
4-20mA
|
|
衬里材料
|
X
|
橡胶
|
|
F
|
聚四氟乙烯
|
|
P
|
聚乙烯
|
|
J
|
聚氨酯橡胶
|
|
就地显示
|
0
|
无就地显示
|
|
1
|
就地显示
|
|
通讯方式
|
0
|
无通讯
|
|
1
|
RS485
|
|
2
|
RS232
|
|
3
|
Modbus
|
|
4
|
Hart
|
|
接地环
|
0
|
无接地环
|
|
1
|
有接地环
|
|
2
|
有接地电极
|
|
上限流量
|
(n)
|
上限流量(量程)m3/h
|
|
例:选用一台就地显示型电磁流量计测量污水,用户管道为DN50,要求橡胶材料衬里,不锈钢电极,4~20mA输出,无通讯,上限流量为30m3/h。型号应为:LDE-50S-M1X100-30
2.选型说明:
仪表口径的确定:请参照表3
|
|
表3
|
|
内径(mm)
|
10
|
15
|
20
|
25
|
32
|
40
|
50
|
65
|
|
Qmin(m3/h)
|
0.05
|
0.1
|
0.3
|
0.4
|
0.8
|
1.2
|
2
|
3
|
|
Qmax(m3/h)
|
3.5
|
8
|
15
|
22
|
35
|
55
|
95
|
150
|
|
内径(mm)
|
80
|
100
|
125
|
150
|
200
|
250
|
300
|
350
|
|
Qmin(m3/h)
|
5
|
8
|
12
|
18
|
25
|
35
|
50
|
60
|
|
Qmax(m3/h)
|
220
|
350
|
550
|
800
|
1400
|
2200
|
3200
|
4500
|
|
内径(mm)
|
400
|
450
|
500
|
550
|
600
|
700
|
800
|
900
|
|
Qmin(m3/h)
|
80
|
120
|
180
|
230
|
300
|
400
|
500
|
600
|
|
Qmax(m3/h)
|
5500
|
7500
|
9000
|
11000
|
13000
|
16600
|
21700
|
27468
|
|
内径(mm)
|
1000
|
1100
|
1200
|
1400
|
1600
|
1800
|
2000
|
2200
|
|
Qmin(m3/h)
|
800
|
1000
|
1200
|
1600
|
2100
|
2700
|
3300
|
4000
|
|
Qmax(m3/h)
|
33900
|
41000
|
48800
|
66400
|
86800
|
109000
|
135000
|
164000
|
|
内衬材料
|
名称
|
符号
|
性能
|
高工作温度
|
适用液体
|
|
橡胶
|
氯丁橡胶
|
CR
|
耐磨性中等,耐一般低浓度的酸碱盐的腐蚀
|
<60℃
|
自来水、工业用水、海水
|
|
聚氨酯橡胶
|
PU
|
好的耐磨性能,耐酸碱性能较差
|
<60℃
|
纸浆、矿浆等浆液
|
|
氟塑料
|
聚四氟乙烯
|
F4或PTFE
|
化学性能很稳定,耐沸腾的盐酸、硫酸、王水、浓碱的腐蚀
|
<160℃
|
腐蚀性强的酸碱盐液体
|
|
聚全氟乙丙烯译名:
特氟隆FEP
|
F46或FEP
|
化学性能等同于F4
抗压、抗拉强度优于4
|
<120℃
|
腐蚀性的酸碱盐液体
|
|
四氟乙烯和乙烯的共聚物
|
F40或ETFE
|
化学性能等同于F4
抗压、抗拉强度优于4
|
<120℃
|
腐蚀性的酸碱盐液体
|
|
塑料
|
聚乙烯
|
PO
|
耐稀酸、碱、盐的腐蚀
|
<60℃
|
耐酸碱盐液体的污水
|
|
聚苯硫醚
|
PPS
|
耐稀酸、碱、盐的腐蚀
|
<100℃
|
耐酸碱盐液体的污水
|
|
2.选型说明
电极、接地环材料的确定:请参照表5
|
|
表5
|
|
材料
|
耐腐蚀性能
|
|
316L
|
适用:1.生活用水,工业用水,原水井水,城市污水
2.弱腐蚀性酸、碱、盐溶液
|
|
哈氏合金B
|
适用:1.盐酸(浓度小于10%)等非氧化性酸
2.氢氧化钠(浓度小于50%),一切浓度的氢氧化钠碱溶液
3.磷酸,有机酸
不适用:硝酸
|
|
哈氏合金C
|
适用:1.混酸和铬酸与硫酸的混合溶液
2.氧化性盐类如Fe+++、Cu++、海水
3.磷酸,有机酸
不适用:盐酸
|
|
钛(Ti)
|
适用:1.盐,如:⑴ 氯化物(氯化物/镁/铝/钙/铵/铁等)
⑵ 钠盐、钾盐、铵盐、次铝酸盐、海水
2.浓度小于50%氢氧化钾、氢氧化铵、氢氧化钡碱溶液
不适用:盐酸、硫酸、磷酸、氢氟酸等还原性酸
|
|
钽(Da)
|
适用:1.盐酸(浓度小于40%),稀硫酸和浓硫酸(不包括发烟硫酸)
2.二氧化氯,氯化铁、次氯酸、氰化钠、乙酸等
3.硝酸(包括发烟硝酸)等氧化性酸,温度低于80℃的王水
不适用:碱、氢氟酸
|
|
铂(Pt)
|
适用:几乎所有的酸、碱、盐溶液(包括发烟硫酸、发烟硝酸)
不适用:王水、铵盐
|
|
碳化物
|
适用:纸浆、污水、能抗固体颗粒干扰
不适用:无机酸、有机酸、氯化物
|
若不能确定选用何种衬里材料及电极材料请参照第七部分“电极和衬里耐腐蚀材料一览表”
|
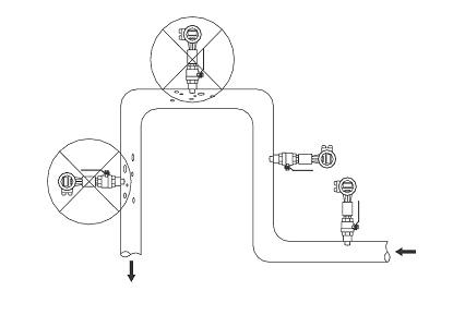
插入式电磁流量计安装示意图